The “notch” has become something of a standard in the tech industry. Apple introduced the iPhone X with a notch on the device, but even before they brought more light to the design, Essential is the pioneer when it comes to notch introduction. Since Essential introduced its first flagship phone with the notch, it’s been a feature rather than a bug. We saw a lot of Android phones at MWC that embraced the notch design.
While the notch is being used more, Essential isn’t satisfied with the design because the company is looking for ways to try and stick the camera directly behind the display (via TechCrunch). Through a number of patents, the company looks to push the camera into the design of the display by putting the camera behind it. While they company has been on a patent run, the patents we’re specifically referring to is a “camera integrated into a display.” Mind you, since Essential had quite the slow start for their flagship phone sales, a new design could bring some new excitement to the brand.

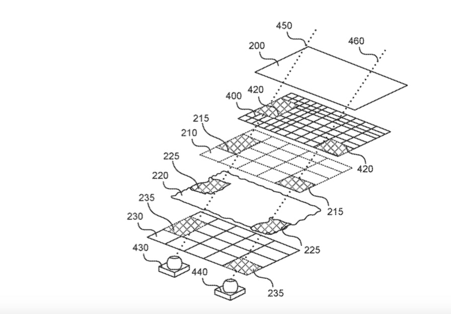
When reading the patent, it describes a multi-layered display with a camera in which a “substantially transparent region allows light from outside to reach the camera to record an image.” The patent is pointing to a potential application that would help mount the camera behind the LCD. Taking a look at the imagery shown with the patent details, you can see the camera being positioned in its customary spot on top. In a different iteration of the same idea, the camera would be located behind the screen’s color layer and “records the light from the outside colors by the color filter layer.”

In a different patent, it’s “an irregularly shaped electronic display, including a hollowed out display within which a sensor, such as a camera, can be placed. The manufacturing techniques enable the creation of the hollow anytime during the manufacturing process. The resulting electronic display occupies the full side of the mobile device, with the sensors placed within and surrounded by the display.”
Both of the patents described where a nifty addition where the camera is located behind a camera icon. Tapping the icon would activate the camera for use. Depending on how this would be implemented (software and hardware working together), you don’t want to put the camera in a spot where it would be prime to finger grease. “The integrated camera serves two purposes: to record pictures,” the patent reads, “and to act as a camera icon, that when selected activates the camera. By removing the camera from the front side of the mobile device, or by integrating the camera into the display screen of the mobile device, the size of the mobile device display screen can be increased.”

While we have these details on how Essential can better integrate its camera and handle the notch, standard patent disclaimers apply because there’s no guarantee the company will bring these changes to the public. These patent simply give us an idea of what the company is working on and what we have a chance to see in the company’s future smartphone(s).




